Этап #1 Постановка задачи
Дизайн инверторного сварочного аппарата ДС 315 производителю не нравился: корпус несовременный, угловатый, нефункциональный.
Мы попробуем это исправить.
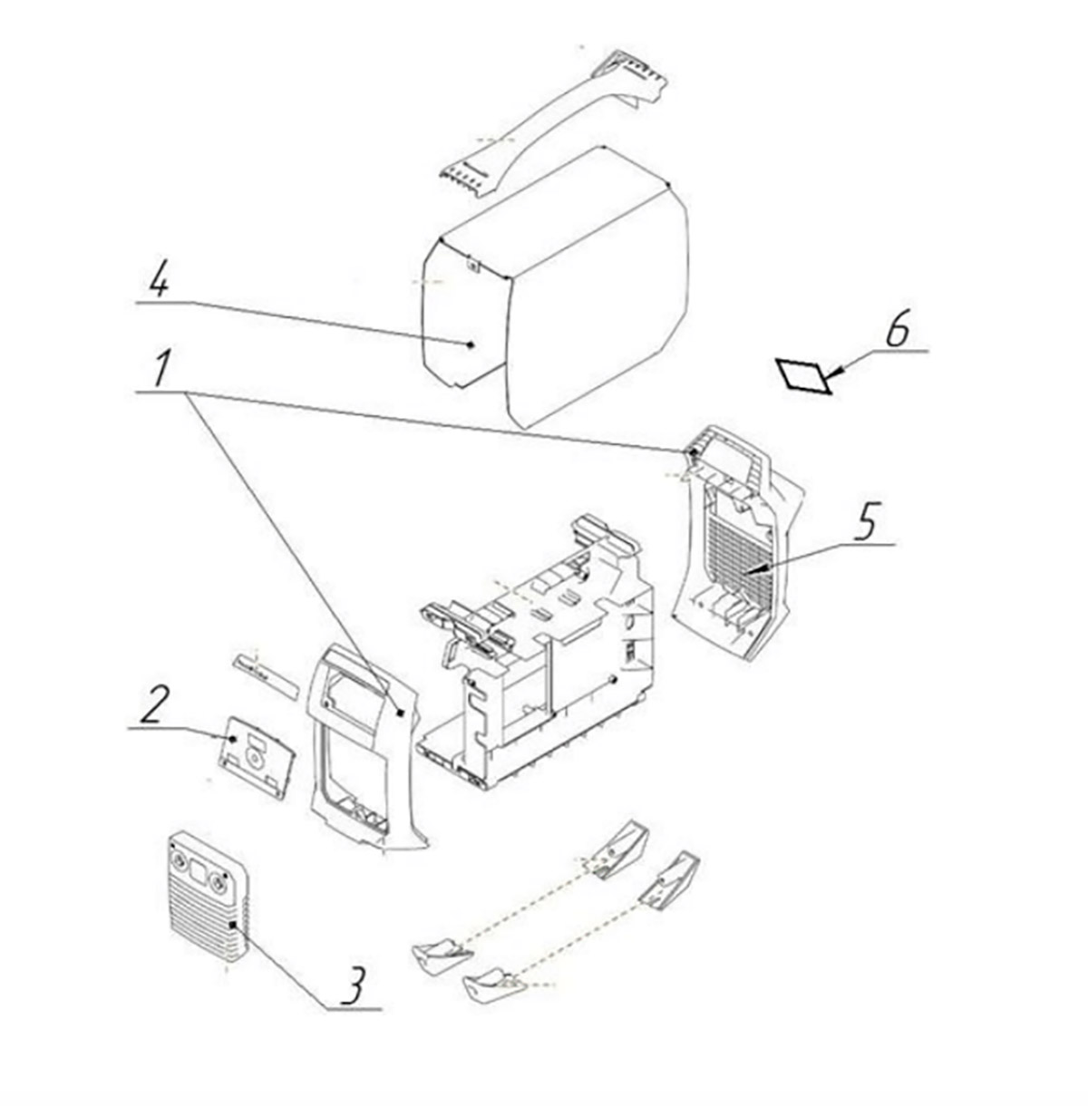
Состав корпуса аппарата: передняя и задняя каркасные пластиковые панели; съёмная панель управления в нише передней части; панель разъемов с жалюзи; стальные боковые стенки и крышка толщиной ~1,0 мм; съёмная часть задней панели вентилятора съёмная часть задней панели, дно для внутреннего наполнения — силовых полупроводниковых элементов, трансформатора, платы системы управления и других.
Все внутренние компоненты размещаются на двух ярусах. Схема сборки должна быть максимально похожа на ту, что на рисунке ниже:
Проработкой внутреннего наполнения мы не занимаемся, однако придётся согласовывать адаптацию компонентов аппарата к новому корпусу.
Части корпуса должны быть съёмными для проведения технического обслуживания: доступ внутрь разрешён не только специалистам, но и всем пользователям.
Внешние элементы корпуса — панель управления, силовые разъёмы + и -, разъём ПДУ, предохранитель, вводной автомат, и «козырек» для его защиты, ввод кабеля питания, болт заземления, разъём USB и информационная табличка.
Аппарат будет эксплуатироваться при температуре от -40 до +40°C и при относительной влажности до 90%. С хранением ещё жёстче: при температуре от -50 до +55 °C.
Есть особые требования к механической прочности корпуса — группа М20 со степенью жесткости 21а по ГОСТ 17516.1; выдерживать падение с высоты 250 мм без нарушения целостности конструкции, а конструкция ручки/ручек — десятикратную нагрузку на отрыв (300 кг). Пыле- и влагозащита корпуса — IP23.
Дополнительные требования: никаких острых выступающих частей на корпусе (могут порвать упаковку); предусмотреть четыре резиновые ножки, а также — для работы в условиях повышенной вибрации — и возможность установки амортизаторов.
Чтобы удешевить производство, надо разработать одинаковые переднюю и заднюю пластиковые панели.
Конкуренция среди производителей сварочных аппаратов высокая, "противники" есть как прямые, так и косвенные.
Но больше остальных заказчику нравятся вот эти аппараты:
Пытаемся понять, почему нравятся: за ярко выраженную решетку вентиляции, двухцветность и в целом за продуманность лицевой части (а это — вставки, например). Можно сделать примерно то же самое, но чуть более строгое.
Этап #2 Эскизирование
Предпочтительная цветовая гамма — оранжевый RAL 2008, тёмно-серый RAL 7015, светло-серый RAL 9006, чёрный. Поверхность дна, стенок, крышки — металлическая с матовым покрытием.
На корпусе будут размещаться надписи и шильдик. Габариты увеличивать можно, но ненамного, на 10% максимум.
Черновики первого дизайнера:
И второго:
Чистовики:
Всё мимо: клиента ни один из вариантов особо не впечатлил: и слишком много пластика, и прямо не сварочный аппарат, а какой-то системный блок.
Но можно оставить наклонную панель управления. Как у конкурента. Разъёмы следует разместить внизу, на съемной панели. А от вентиляции на боковых стенках можно попробовать и отказаться.
Тогда вот так:
Но и так тоже не пойдёт: уже слишком похоже на конкурента. Хотя по функционалу всё правильно.
Ручку — для уменьшения количества штампов — можно попробовать из профильной (овальной) трубы. И почему бы переднюю и заднюю решётки не сделать разными; а то, что на каждую нужен будет отдельный штамп, — ну и пусть. Эстетика важнее, считает заказчик.
Да, по мощной и очень прочной ручке: теперь пробуем готовую — «покупную». Правда, есть вопрос: где её искать? А вдруг существует какое-то тайное ручкохранилище?
Ручку нашли. Корпус переделали. Нарисовали вариант даже с двумя ручками.
Хотя нет. Заказчик отнесся к покупному элементу скептически: не то.
Возвращаемся к ручке из овальной трубы. Точнее, уже не овальной, а круглой.
Почти финал:
Этап #3 3D-моделирование
3D-модель одобренного заказчиком варианта:
Этап #4 CAD-моделирование и конструкторская разработка
Почему-то плата заказчика не хотела умещаться в корпусе. Так что, может быть, и придётся раздвигать его стенки.
Измерили плату. Выяснили, что модель платы, полученная от клиента, отличается от установленной на образце сварочного аппарата. Теперь нужно понять, почему: или это так отображено — с упрощениями, запасами и т.п.; или же сама плата должна увеличиться в размерах (потому что всякое бывает).
Если плата точно такая же, как в образце, то здесь такие варианты решения проблемы — уменьшить текстолитовое основание, подвинуть или разогнуть стенки. Если плата всё-таки немного увеличилась, и именно её габариты были получены от заказчика в модели, тогда тут уже придётся думать: подходит ли такой дизайн боковых стенок в принципе.
В общем, нужно понять, есть ли возможность изменить габариты платы питания или изменения запрещены.
Плюс на этапе разработки конструктор увидел, что передняя и задняя панель на первый взгляд одинаковы, но на деле имеют разную геометрию: козырьки и углубления разные, решётки разные и так далее. И задался вопросом, что это: дизайнерское решение или просто косяк в модели?
Вспомнили: не косяк. Так захотел заказчик. А что насчёт платы? Две платы будут новыми, ждём моделей.
Но в итоге всё-таки немного увеличили ширину сварочника.
И тут опять напомнила о себе ручка. Пространство между ней и корпусом было слишком узким — взяться за ручку и перенести аппарат было просто невозможно: пальцы не пролезали. Даже если подстричь ногти.
Варианты здесь были такими:
а) перенести ручку повыше;
б) изменить саму ручку.
Но далеко не факт, что на второй вариант согласится заказчик. Поэтому увеличиваем верхнюю часть.
Тем временем уже готовы варианты дизайна панели управления.
Конструкторская модель для прототипирования готова:
Рендеры решёток — передней и задней панелей:
Этап #5 Прототипирование
Металлические части корпуса изготавливались на производстве у заказчика, пластиковые панели — в Китае.
В прототипе ничего критичного не обнаруживаем, но всё равно перерисовываем решётку.
Второй прототип:
Этап #6 Опытный образец
Результаты виброиспытаний источника и проверка корпуса на ударную прочность при транспортировке, после внесения доработок в конструкцию внутренних узлов и деталей источника, заказчика устроили. Поэтому заказываем три штуки в качестве опытной партии.
















































































