Этап #1 Постановка задачи
На этот раз у нас полный цикл разработки корпуса: нужно переработать конструкцию корпуса датчика под технологию литья пластиков под давлением (с учетом особенности сборки). И дизайн параллельно сделать, и макеты, и прототипы. Это наушник-гарнитура из состава автоматизированной системы онлайн-мониторинга состояния водителя, по сути — микрокомпьютер, который просчитывает риск того, что водитель заснет за рулем, потеряет внимание или впадет в стресс. Тогда компьютер сигнализирует водителю: «Эй, у нас тут что-то не в порядке!». Если тот не реагирует, система начинает паниковать и стучится к диспетчеру, чтобы остановить машину.
Задумано все красиво, но в конструкции макета гарнитуры, с которым клиент обратился к нам, есть серьезные недостатки. Это и неудобная форма заушника, и сложности с монтажом к нему кабеля, и помехи из-за неудачной конструкции, да и элементы аппарата ломаются только в путь.
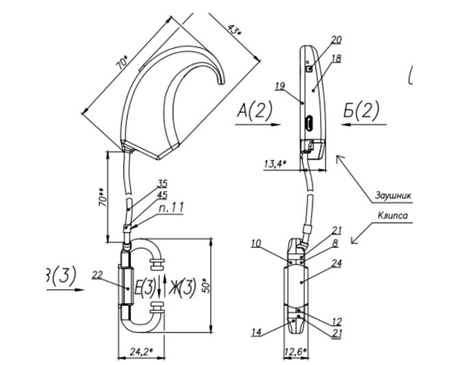
Состав гарнитуры:
- заушник из трех деталей (основание, крышка и кнопка);
- клипсы из 7 деталей (4 скобы, кожух с крышкой и заглушка);
- кабели между заушником и клипсой (от платы управления к оптическому датчику).
Внутри заушника есть плата управления, несъемный аккумулятор, толкатель кнопки. На корпусе — кнопка, световой индикатор и разъем micro-USB для зарядки.
На клипсе установлен оптический датчик, внутри кожуха – пружины, которые одновременно служат проводниками тока к светодиоду.
Итак, задача: адаптировать конструкцию под технологии литья под давлением. Работа ювелирная: местоположение ряда компонентов нельзя менять, потому что иначе прибор просто не будет работать. Плюс в новой конструкции должны быть места под динамик и микрофон. А разъем micro-USB для зарядки надо заменить на pogo-пины. Вот такие:
Также в новой модели корпуса будет увеличенный аккумулятор большей ёмкости. Требований вообще полно: все разборные или съемные элементы гарнитуры будут пломбироваться, доступ пользователю необходимо сделать только для замены аккумулятора. И эргономика, эргономика чуть ли не превыше всего: чтобы уши «носителей» (а уши у всех разные) после 12 часов в ношения гарнитуры не уставали, чтобы наушник не сваливался даже при беге и не цеплялся за воротники; не скользил (здесь поможет прорезиненное покрытие); был вандалоустойчив и падал бы без повреждений с трехметровой высоты.
А еще и IP42; материалы, не вызывающие раздражения кожи и выдерживающие длительное хранение при температурных перепадах, плюс возможность многократной сборки и разборки.
Кажется, все.
Нет, не все: у гарнитуры два типоразмера — для «обычных» и для «толстых» ушей.
Ну действительно — корпус очень сложный. По сути, это полная переработка конструкции. И совсем без дизайна здесь не обойтись, тем более что многое завязано на эргономику. Поэтому следующий этап — хоть и конструкция, но — эскизная. С элементами дизайна, скажем так.
Этап #2 Эскизная конструкция
Или эскизная концепция ;) Один из первых вариантов:
Продолжаем:
Вносим серьезные изменения в техзадание: после конструкторской проработки габариты и внешний вид гарнитуры могут серьезно измениться. И-и-и...
Возвращаемся к тому, с чего должны были начать.
К дизайну.
Этап #3 Эскизирование
Следующая итерация:
Конструкции, правки, новые конструкции... и вот всего спустя почти год дело продвинулось:
Делаем макет:
Сейчас основная задача — сделать гарнитуру в минимальных размерах, даже если для этого придется «порезать» функционал. Заказчику скоро нужно показать покупателю работающее устройство. Главное – понять, за счет чего и как получится остаться в этих габаритах (или даже уменьшить их).
Этап #3 Макетирование
Принимаем замечания от заказчика. Обсуждается форма деталей, способы крепления элементов гарнитуры, размеры и радиусы, толщина корпуса и его геометрия и прочее, и прочее, и прочее... Особенно бьемся с проблемой хорошего примыкания гарнитуры к уху.
Забегая вперед: мы очень долго работали с этой гарнитурой. Переделывалось все, проблемы вставали со всем, начиная от формы амбюшуров (это те мягкие штучки для наушников, которые вставляются непосредственно в уши) и их материала, и заканчивая расположением винтика в пластиковой детальке. Получалась разработка с непредсказуемым финалом. Это все из серии «Что бы ты ни сделал, все равно потом будешь жалеть», то есть что бы мы ни наваяли, как бы ни старались, 90 процентов за то, что будут какие-то нюансы, и конструкцию в очередной раз придется переделывать. Потому что вещь должна выйти действительно красивой и удобной.
Заказчик тоже переживал и на всякий случай решил запускать в прототипирование сразу два варианта конструкции — чтобы не терять время зря.
А пока прорабатываем варианты подсветки гарнитуры:
Макет уха, чтобы каждый раз не мучить человека при проверке эргономики:
Очередной макет для проверки эргономики:
Макеты, макеты, макеты...
Этап #4 Прототипирование
Зависаем еще на несколько месяцев. Делаем прототипы двух конструкций на двух разных производствах, в светлом цвете и темном.
Принимаем замечания к конструкции. Мелочи наподобие слегка не так установленного винтика или небольшой щели в корпусе, но мелочей здесь нет — устройство постоянно находится в тесном контакте с носящим его человеком.
Но самое главное: силикон заушника слишком мягкий. Из-за этого он не обеспечивает фиксацию на ухе и функцию пружинки, подтягивающей верх устройства к голове. Протестировать эргономику устройства не получается.
Надо подбирать для гарнитуры другой материал и немного править геометрию. И тут выясняется, что отливка в силикон деталей такой твердости, которая нужна, на наших производствах в принципе невозможна.
Последние CAD-модели — левый наушник, правый:
И подсветочка:
На рендерах все красиво.
Цвета:
Рендеры:

— К сожалению, этот проект не дошел до серийного производства: немножко не хватило сил и возможностей. Но мы верим в то, что еще вернемся к этой задаче и, наконец, победим!
Ясно одно: если вы беретесь за подобные разработки, надо уже на старте быть готовым к многочисленным итерациям правок, макетов, тестовых образцов. И не всегда новая итерация — это движение вперед: опробованные решения или оставляют тебя на месте, или даже отбрасывают назад.
Евгений Аракас,
руководитель проекта








































































































